Ningbo Richge Technology Co., Ltd.
Ningbo Richge Technology Co., Ltd.
Produktuak

Gida trenbide seriea

Guide Rail Device Series

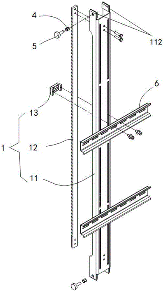
The switchgear guide rail is used for support and guide electrical equipment or components to move in the switchgear.  

Support and guide: Provide support for electrical equipment or components to ensure the stable position in the switchgear and guide them to move in a specific direction for easy installation, commissioning and maintenance.

Easy installation and removal: Allow electrical equipment or components to be easily inserted or unplugged from the switchgear, improving the efficiency of installation and maintenance.

Protect equipment: Reduce friction and collision between the equipment and the distribution cabinet during the plug-in and unplug process, thereby protecting the surface and internal structure of the equipment from damage.

Improve space utilization: By reasonably arranging the guide rails, the space in the distribution cabinet can be fully utilized, making the installation of electrical equipment more compact and orderly.


View as  
 
Diseinu elektrikoetarako gida-erraila

Diseinu elektrikoetarako gida-erraila

Gailu elektrikoetarako gida-erraila kommutagailuen osagaiak eusteko, gidatu eta muntatzeko egitura mekanikoa da, batez ere ekipo elektrikoetan erabiltzen dena. Bere diseinuaren helburu nagusia kommutagailuaren egonkortasuna, lerrokatzea zehatza eta ondorengo mantentze- eta ordezkapen-erraztasuna bermatzea da. Errailak aluminiozko aleazioz edo altzairu galbanizatuz egin ohi dira, karga garraiatzeko gaitasun handia eta korrosioarekiko erresistentzia dutenak. Ingurune berezietarako (adibidez, leku hezeak edo korrosiboak), errailak korrosioaren aurkako tratamendua edo altzairu herdoilgaitza izango dira. Errail arrunten formak "C", "U" edo "L" atalak dira, kommutagailu mota askorekin bateragarriak izateko diseinatuta. Gainera, gida-errailaren tamaina estandarra nazioarteko zehaztapenekin bat dator, eta horrek ekipamenduaren instalazio modularra errazten du. Ingurune gogorrari aurre egiteko, gida errailaren gainazala galbanizatua, estaldura elektroforetikoa eta beste tratamendu batzuk izan daitezke korrosioarekiko erresistentzia hobetzeko.
Kommutazio Elektrikoa Gida-erraila

Kommutazio Elektrikoa Gida-erraila

Richge Txinako Elektrizitateko Switchgear Guide Railsen fabrikatzailea da, kommutagailu sistemen egonkortasuna eta funtzionaltasuna hobetzeko diseinatutako doitasun-ingeniaritza soluzioetan espezializatua. Gure gida-errailak funtsezkoak dira etengailu elektrikoen multzoen funtzionamendu fidagarria eta leuna bermatzeko, osagai kritikoei ezinbesteko euskarria eta lerrokatzea eskainiz.
Aparailuetarako aluminiozko gida-erraila

Aparailuetarako aluminiozko gida-erraila

Richge Aluminiozko Guide Rail fabrikatzailea da Txinan, kommutagailuen sistema elektrikoetarako laguntza eta lerrokadura zehatza emateko diseinatutako errendimendu handiko soluzioetan espezializatua. Gure aluminiozko gida-errailak diseinu arina eta iraunkortasuna konbinatzen ditu, eta aukera ezin hobea dira switchgear aplikazio modernoetarako.
Richge Gida trenbide seriea fabrikatzaile eta hornitzaile profesionala da Txinan. Gure prezio baxuko produktuetan interesatzen bazaizu, jarri gurekin harremanetan.
X
Cookieak erabiltzen ditugu nabigazio esperientzia hobea eskaintzeko, guneko trafikoa aztertzeko eta edukia pertsonalizatzeko. Gune hau erabiltzean, gure cookieen erabilera onartzen duzu. Pribatutasun politika
Baztertu Onartu